GZB-2型電阻應變式拉壓力傳感器、變送器
- 產品分類:稱重測力傳感器
- 全國咨詢熱線:
- 13907318074
分享到:
概述
GZB-2型電阻應變式拉壓力傳感器,采用懸臂梁彈性元件結構,具有性能穩定,可靠性好等特點,可作拉壓而用,廣泛用于各系統中進行低量程的測量和力的分析。
主要技術指標
非線性誤差 ≤±0.1℅F.S
滯后誤差 ≤±0.1℅F.S
重復性誤差 ≤±0.05℅F.S
輸出靈敏度 1~1.5mV/V
溫度零點影響 0.01℅F.S/℃
輸出阻抗及橋壓 350Ω/10VDC
絕緣電阻 ≥2000ΜΩ
過載能力 120℅F.S
工作壞境溫度 -10℃~+55℃
系列規格 1、2、3、5、7、10、15、 20(㎏)
10、 20、30、 50、70、100、150、200(N)
變送輸出 0~5VDC 0~10VDC 1~5VDC 0~10mA 0~20mA 4~20mA
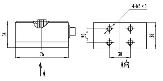
外形尺寸(mm)
GZB-2型電阻應變式拉壓力傳感器,采用懸臂梁彈性元件結構,具有性能穩定,可靠性好等特點,可作拉壓而用,廣泛用于各系統中進行低量程的測量和力的分析。
主要技術指標
非線性誤差 ≤±0.1℅F.S
滯后誤差 ≤±0.1℅F.S
重復性誤差 ≤±0.05℅F.S
輸出靈敏度 1~1.5mV/V
溫度零點影響 0.01℅F.S/℃
輸出阻抗及橋壓 350Ω/10VDC
絕緣電阻 ≥2000ΜΩ
過載能力 120℅F.S
工作壞境溫度 -10℃~+55℃
系列規格 1、2、3、5、7、10、15、 20(㎏)
10、 20、30、 50、70、100、150、200(N)
變送輸出 0~5VDC 0~10VDC 1~5VDC 0~10mA 0~20mA 4~20mA
外形尺寸(mm)
| 測量范圍 | 外形尺寸 | 安裝尺寸 | 連接螺紋尺寸 | |
| ㎏ | N | |||
| 1~20 | 10~200 | 76×38×38 | 30×20×4孔Μ4 | Μ6×1 |




